

赛况胶着的“芯”路上,一直跟跑追赶的青岛突然加速,以黑马之姿杀出重围。
日前,荣芯半导体(宁波)有限公司(下称“荣芯半导体”)以16.66亿元的拍卖底价拍得德淮半导体有限公司(下称“德淮半导体”)整体资产。

交易引发市场强烈关注,看点有二:
一是荣芯半导体接盘德淮半导体,如果能尽快量产,将有望缓解国内产能紧缺的问题,助力实现国产替代;
二是这桩交易背后的买家实力雄厚,除了民和资本、红杉中国等知名资本机构外,荣芯半导体还吸引了国资入局,第一大股东就是青岛城投。
从财务性投资角度来看,该交易不失为一桩好买卖。
在当前全球“芯片荒”的大背景下,芯片国产替代的需求愈加迫切,芯片企业股价和估值仍有提升空间成为行业分析师的普遍共识。而荣芯半导体以低于评估价30%拍得了德淮半导体,其12吋晶圆厂项目目前建成率也已经达到90%,如果进展顺利,大概率将实现低买高卖的财务性投资收益。
往深里看,它更是一桩事关青岛城市发展新动能、产业层级的战略性投资。
作为青岛国有资本投资运营平台之一,青岛城投多数投资行为的背后都有着深层次的考量,这次也不例外。

以工业立市的青岛长期以来面临“缺芯少面”的尴尬。找准差距后,青岛奋起直追。2019年,青岛发起“高端制造业+人工智能”攻势,把新一代信息技术“振芯铸魂”作为“制造强市”的重要引擎,奋力建设国家级集成电路产业基地。
今年以来,这种追赶的势头掀起了新一轮高潮。
8月2日,芯恩(青岛)集成电路有限公司宣布8寸厂投片成功,投片产品为功率芯片,良率达90%以上;7月,位于青岛西海岸的富士康芯片封测厂,其首台光刻机正式入场;6月,京东方春季招聘简章透露,其显示端口器件生产基地将于2022年正式在青岛布局落地。
从芯恩、京东方、富士康三大重点项目快马加鞭落地,到青岛国资果断布局荣芯半导体,展现了青岛全力推进芯片产业发展的决心和信心。我们不禁对步履铿锵的青岛芯片产业,在“十四五”实现新跨越,为城市发展注入新动能充满信心。
1、背后真正的买家
在“芯片战争”和全球“芯片荒”的双重夹击下,芯片成了时下最热门的产业赛道。
虽然我国芯片产业自主创新能力已经取得了重大突破,但“卡脖子”的问题一直没有解决。因此,芯片国产替代是一种长期趋势,必由之路。
短期看,疫情之下,以5G、大数据、人工智能、区块链等为代表的新一代信息通信技术大显身手,芯片的价值进一步抬升。
一边是日益旺盛的市场需求,一边是因疫情而大幅缩减的产能,今年以来,缺货、涨价、融资成为芯片产业的高频词。
在上述大背景下,荣芯半导体竞拍德淮半导体一事很难不引发行业关注。
8月7日,在京东拍卖平台上,德淮半导体破产管理人对德淮半导体整体资产(包括全部动产和不动产,不含芯片成品和芯片原材料)进行公开拍卖。
拍卖页面显示,标的物所在地位于江苏淮安市淮阴区长江东路599号,起拍价为16.66亿元。该拍卖共有3人报名,2.34万人围观。
当日,荣芯半导体通过公开竞价成功拍得该项目,成交价为16.66亿元。

出手如此干脆利落,荣芯半导体的实力引发外界强烈好奇心。很快,其背后的真正买家浮出水面。
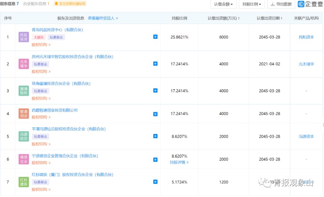
企查查显示,荣芯半导体成立于2021年4月,注册资本为2.32亿元,主要经营项目为半导体分立器件制造、集成电路芯片及产品制造、集成电路设计等。目前已获得了民和资本、红杉中国、冯源投资、元禾璞华、美团等知名资本的投资,估值超过90亿元。
追赶芯片大潮,或许是历史性的大机会。
近两年来,不仅各路资本纷至沓来,以国资为代表的地方也正以相当的危机感加快布局芯片产业。
目前在荣芯半导体股东列表中还有各地国资身影,公司第一大股东为青岛民蕊投资中心,持股比例25.8621%,后者的三名股东分别为青岛城投科技发展有限公司、青岛半导体产业发展基金合伙企业(有限合伙)和拉萨民和投资管理有限公司。

其中,青岛城投控股的青岛半导体产业发展基金合伙企业持有青岛民蕊投资中心90%股权,青岛城投子公司青岛城投科技发展有限公司持有青岛民蕊投资中心5%股权。
也就是说,荣芯半导体的第一大股东就是青岛城投,背靠青岛市国资委。
作为青岛市最大国有投资平台,青岛城投出手拿下德淮半导体显然不是偶然事件,而是筹谋已久、志在必得。
有半导体行业内人士分析,荣芯半导体大概率就是为接盘德淮半导体项目而成立的。显然,接盘德淮半导体应该是酝酿很久的事,(荣芯)应该做好了后期的规划。
2、筹谋已久,青岛国资意欲何为?
从目前的产业背景和公开的标的物情况看,荣芯半导体对德淮半导体的交易,即使是纯财务性投资,也是一桩不错的买卖。
去年以来,半导体芯片龙头股持续大涨,成为资本市场耀眼的明星。尽管近期受监管评论影响意外“熄火”,但行业分析师仍然看好国内半导体芯片概念,认为芯片国产替代长期趋势未改变,芯片企业股价和估值仍有提升空间。
前景是一方面,成本也不能忽视。
德淮半导体曾是江苏淮阴区重点发展的超百亿元项目,奈何却从“野心勃勃”滑向烂尾,乃至最后的破产清算。根据评估,该项目价值23.8亿元,但荣芯半导体仅以七折的评估价就拿到了该项目,成本较低。
以切入时机和项目成熟度分析,这桩交易恰逢其时。荣芯半导体至今仍是一个“空壳”,而其目标要做晶圆代工,就必须要有自己的晶圆厂。在全球晶圆制造产能紧缺或将持续至2023年的背景之下,全球众多的晶圆厂都有开始扩产,预计在2023年下半年将会有大量的产能开出,届时可能会出现产能过剩。
荣芯半导体如果自建一座12吋晶圆厂,显然战线过长,将错过入场的最佳时机。而此时接盘烂尾的德淮半导体项目,就能够快速地进入晶圆代工市场。
据德淮半导体工作组办公室副主任徐玉泉此前介绍,德淮半导体项目建成率已达90%,只需大概30亿元就能把项目启动起来。荣芯半导体接盘后极可能在短期内完成这“一脚”。
站在城市投资角度,这桩买卖更像是青岛为提升产业层级、转换发展动能所做出的一次重大战略投资。

近年来,青岛国资通过战略投资推动产业布局已屡见不鲜。
2020年9月,青岛海控集团通过作价23.759亿元的股权交易成为A股上市公司万马股份新的控股股东。对于这次跨省并购,海控集团表示,万马股份是国内线缆行业知名企业,将通过整合和协同拓宽其产业发展领域,并借助外部技术和新区产业优势,开发建设运营特色鲜明的产业园区,提升青岛西海岸新区产业承载能力。
同月,融创和海发集团注册成立青岛东方影都产业控股集团有限公司,双方共同开展影视产业投资和影视园区管理运营。业内认为,青岛国资此举有利于整合产业资源、促进产业协同,发挥国有资本投资运营平台作用,将更好地为项目、产业导入优质行业资源、优惠政策资源。
芯片产业的战略性投资,青岛国资发力多时。
为推动青岛半导体产业发展,青岛城投持续开拓半导体产业的投资版图,与行业龙头企业频频合作,通过资本运作实现了青岛半导体产业的资本布局,也推动了产业在青岛落地、发展。
企查查信息显示,青岛城投与上市公司上海韦尔半导体股份有限公司、北京赛微电子股份有限公司合作成立了海丝民合半导体投资中心,城投集团约占87%的股份。
通过该投资中心,青岛城投持有韦尔股份约4%的股权,并在即墨区落地了两个半导体项目;
青岛城投还促成了韦尔股份封装测试商上海泰睿思微电子股份有限公司在青落地投资;
……
3、不负众望,芯片大项目加速落地

制造业是青岛城市的根基,大热的芯片产业则是青岛制造的灵魂。
在“封锁”与“突破”的双重作用下,目前我国芯片产业正进入关键发展期,政策、资本、人才纷纷向该领域倾斜。
借此机遇,国内很多城市都开始布局、培育芯片产业生态。
以工业立市的青岛,长期以来面临“缺芯少面”的尴尬,这很大程度上也是青岛没能抓住信息化、消费互联网那一波浪潮的重要原因,成为青岛工业的一大“芯病”。
芯片,既是青岛的短板,也是青岛的机遇。
意识到这一点后,青岛奋起直追。2019年以来,青岛发起“高端制造业+人工智能”攻势,把新一代信息技术“振芯铸魂”作为“制造强市”的重要引擎,奋力建设国家级集成电路产业基地。
青岛依托巨大的应用市场优势,坚持特色化、差异化的发展路径追得很快,芯片企业从2016年的20家,发展到涵盖设计、晶圆制造、封装测试环节以及设计工具软件等在内的全产业链130家企业,后发优势正在显现。

有人说,青岛正在快速成为下一座芯片重镇。
近期大项目集中落地或是这一论断的重要依据。2018年,在“中国芯片之父”、中芯国际创始人张汝京领衔下,宁波芯恩投资、青岛西海岸新区管委、青岛国际经济合作区管委、青岛澳柯玛集团合作投资设立了芯恩(青岛)集成电路项目。
据国内专业ICT产业网站服务平台集微网透露,在克服了疫情、资金等重重困难后,今年8月2日,青岛芯恩公司举办了誓师大会,正式宣布8寸厂投片成功,投片产品为功率芯片,良率达90%以上,光罩厂也于7月30日完成了产品交付。
这意味着,引进3年之久的芯恩项目最终没有辜负青岛的期待。它的成功落地,不仅展示了青岛全力推进芯片产业的决心和信心,也展现了青岛芯片产业加速前进的势头,更将直接推动青岛半导体产业发展迈上新台阶。
还有富士康,2020年,其半导体高端封测项目正式落户西海岸新区。这一创下去年开工、封顶最快建设记录的项目,于今年7月成功实现首台设备进厂,预计将于10月进行试产。
今年6月,京东方则在春季招聘简章中透露,其显示端口器件生产基地将于2022年正式在青岛布局落地。根据计划,该生产基地项目将有青岛国资入局,与京东方共同投资。
一个高端产业适不适合、能不能在城市发展,没什么比大项目落地有声更有说服力。
今年是 “十四五”开局之年,也是青岛确定的项目落地年,三大项目集中绽放,以各自的新进展作答,描绘了城市产业升级的新图景,推动青岛芯片产业实现新跨越。
若能保持这一加速的势头,青岛在2023年实现新一代信息技术产业链规模突破千亿元的目标将是大概率事件,而青岛国资果断布局的荣芯半导体等投资项目亦将为青岛产业发展打开更大的想象空间。
作者 | 长亭 策划 | 沈默 编辑 | 长亭
