前几天青报君播报了青岛开打新冠疫苗加强针的消息,目前正有序开展相关接种工作。
青岛加强免疫接种将优先安排新冠病毒感染高风险人群和保障社会基本运行的关键岗位人员,包括职业暴露风险较高人群,涉进口冷链物品的口岸一线海关检验检疫人员,口岸装卸、搬运、运输等相关人员,国际和国内交通运输从业人员,面临较高境外疫情风险的边境口岸工作人员,医疗卫生人员等,还有部分60岁以上的人群、有免疫功能缺陷或低下的人群,以及有在境外感染风险的人群,如因公、因私出国工作学习人员等。
组织方面,重点人群要听从所在单位或者行业,或者街道来组织,或者咨询区疾控中心或接种点,个人接种必须满足条件,携带身份证联系所在地的区疾控中心。
青报君知道大家关心接种地点等情况,
部分区市接种点及咨询电话来了!
往下看
↓↓↓
李沧区


图源:李沧区卫生健康局
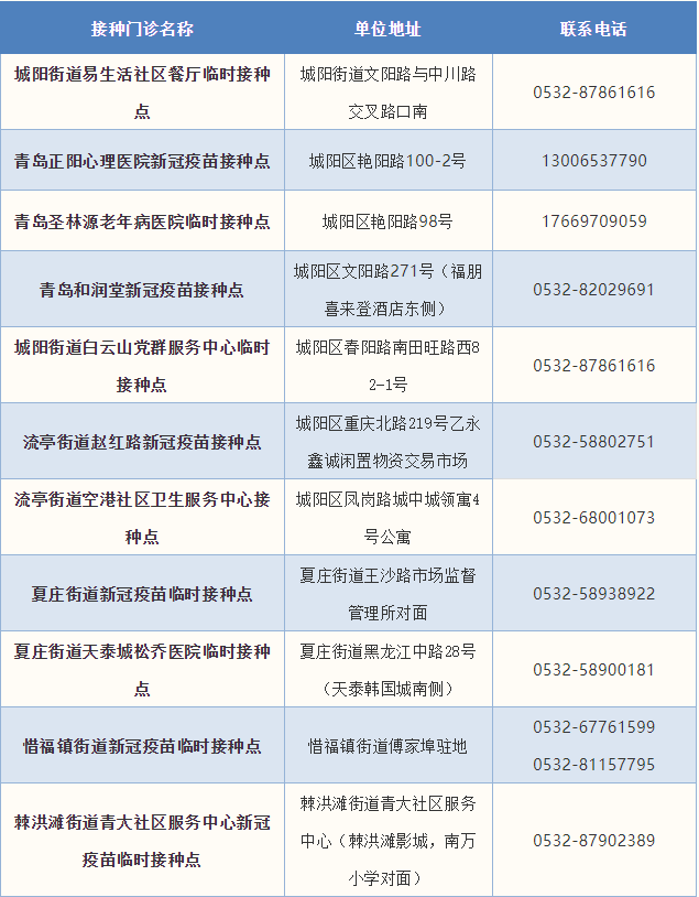
城阳区


图源:城阳区卫生健康局
即墨区

图源:即墨疾控
胶州市

图源:胶州疾控
平度市



图源:平度卫生健康
关于新冠疫苗加强针,
你关心的这些问题答疑
↓↓↓

文案、设计:王雯雯
符合加强免疫条件的,
请尽快完成加强免疫!
转发,提醒更多人!
责任编辑:孙丽荣